Overview
all eyes are used to attach ball and socket insulators to other associated hardware. The use of the ball oval eye and an anchor shackle is one of the most common distribution tower attachment combinations.
Ball Eyes (Type Q&QP)
Hot-dip galvanized steel.

Ball Eyes (Type QH)
Hot-dip galvanized steel.
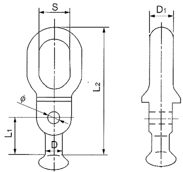
Ball Eyes(Parallel Type)
Hot-dip galvanized steel.
Ball Eyes (Perpendicular Type)
Hot-dip galvanized steel.
Ball Eyes
Hot-dip galvanized steel.
U Type Ball Eyes
Hot-dip galvanized steel.

all eyes are used to attach ball and socket insulators to other associated hardware. The use of the ball oval eye and an anchor shackle is one of the most common distribution tower attachment combinations.
Ball Eyes (Type Q&QP)
Hot-dip galvanized steel.

| Catalog No. | Suitable Insulator | Dimensions(mm) | Raled Failure Load(kN) | Weight(kg) | |||||
| Di | D2 | d | b | h1 | h2 | ||||
| Q-7 | XP-7 | 33.3 | 17 | 22 | 16 | 50 | 13.4 | 70 | 0.3 |
| QP-7 | XP-7 | 33.3 | 17 | 20 | 16 | 50 | 13.4 | 70 | 0.3 |
| QP-10 | XP-10 | 33.3 | 17 | 20 | 16 | 50 | 13.4 | 100 | 0.3 |
| QP-16 | XP-16 | 41 | 21 | 26 | 20 | 60 | 19.5 | 160 | 0.5 |
| QP-20 | XP-20 | 49 | 25 | 30 | 24 | 80 | 21 | 200 | 1 |
| QP-21D | XP-21 | 41 | 21 | 29 | 24 | 70 | 19.5 | 210 | 1 |
| QP-30 | XP-30 | 49 | 25 | 39 | 30 | 80 | 21 | 300 | 1.1 |
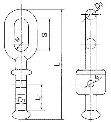
Ball Eyes (Type QH)
Hot-dip galvanized steel.
| Catalog No. | SuitalbleInsulator | Dimensions(mm) | Rated Failure Load(kN) | Weight(kg) | |||||
| hi | h2 | h3 | R | D | b | ||||
| QH-7 | XP-7 | 13.4 | 114 | 57 | 11 | 17 | 16 | 70 | 0.6 |
Hot-dip galvanized steel.
| Catalog No. | Suitable Insulator | Dimensions(mm) | Rated Failure Load(kN) | Weight(kg) | |||||
| Li | L2 | S | D | Di | φ | ||||
| Q-7M | XP-7 | 60 | 130 | 18 | 16 | 16 | 14 | 70 | 1 |
| Q-12M | XP-12 | 70 | 145 | 22 | 18 | 18 | 14 | 120 | 1.3 |
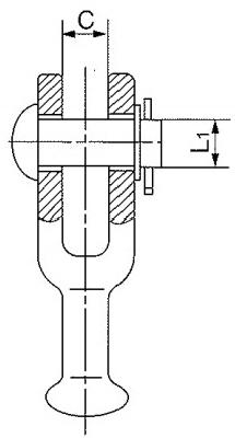
Ball Eyes (Perpendicular Type)
Hot-dip galvanized steel.
| Catalog No. | Suitable Insulator | Dimensions(mm) | Rated Failure Load(kN) | Weight(kg) | ||||||
| L | Li | D1 | JD2 | S | R | φ | ||||
| Q-7N | XP-7 | 170 | 42 | 17 | 16 | 50 | 12.5 | 14 | 70 | 1.2 |
| Q-12N | XP-12 | 185 | 48 | 17 | 20 | 56 | 15 | 14 | 120 | 1.5 |
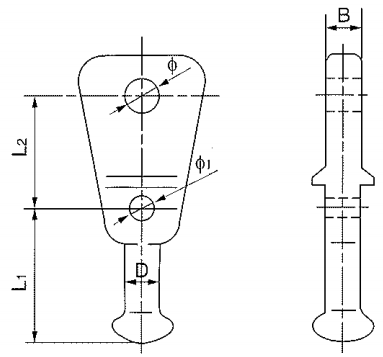
Ball Eyes
Hot-dip galvanized steel.
| Catalog No. | Suitable Insulator | Dimensions(mm) | Rated Failure Load(kN) | Weight(kg) | |||||
| L1 | L2 | D | φ | φ1 | B | ||||
| Q-7P | XP-7 | 70 | 60 | 17 | 20 | 14 | 16 | 70 | 1.1 |
| Q-12P | XP…12 | 70 | 65 | 17 | 24 | 14 | 18 | 120 | 1.3 |
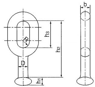
U Type Ball Eyes
Hot-dip galvanized steel.

| Catalog No. | Suitable Insulator | Dimensions(mm) | Raled Failure load(kN) | Weight(kg) | |||
| C | Di | D | L | ||||
| Q-7U | XP-7 | 18 | 16 | 17 | 89 | 70 | 0.9 |
| Q-12U | XP-12 | 22 | 22 | 17 | 95 | 120 | 1 |
| Q-16U | XP-16 | 22.5 | 24 | 20 | 80 | 160 | 1 |




