Overview
extension Rods are used in suspension insulator strings and tension insulator strings to connect with other hardware or insulators. This product is forged with high quality steel to ensure the stability and reliability of its strength.
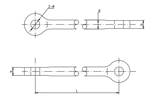
Extension Rods (Type YL)
Hot-dip galvanized steel.
Extension Rods (Type YLP)
Hot-dip galvanized steel.
extension Rods are used in suspension insulator strings and tension insulator strings to connect with other hardware or insulators. This product is forged with high quality steel to ensure the stability and reliability of its strength.
Extension Rods (Type YL)
Hot-dip galvanized steel.
| Catalog No. | Dimensions(mm) | Rated Failure Load(kN) | Weight(kg) | |||
| D | d | b | L | |||
| YL-1012 | 18 | 20 | 16 | 120 | 100 | 0.8 |
| YL-1040 | 18 | 20 | 16 | 400 | 100 | 1.1 |
| YL-1050 | 18 | 20 | 16 | 500 | 100 | 1.4 |
| YL-1069 | 18 | 20 | 16 | 690 | 100 | 1.9 |
| YL-10100 | 18 | 20 | 16 | 1000 | 100 | 2.2 |
| YL-1243 | 22 | 24 | 18 | 430 | 120 | 1.6 |
| YL-1643 | 22 | 26 | 18 | 430 | 160 | 1.6 |
| YL-2043 | 24 | 30 | 20 | 430 | 200 | 3 |
Extension Rods (Type YLP)
Hot-dip galvanized steel.
| Catalog No. | Dimensions(mm) | Rated Failure Load(kN) | Weight (kg) | |||
| D | d | b | L | |||
| YLP-16260 | 24 | 26 | 20 | 260 | 160 | 1.6 |
| YLP-16850 | 24 | 26 | 20 | 850 | 160 | 3.7 |
| YLP-16910 | 24 | 26 | 20 | 910 | 160 | 3.9 |
| YLP-16970 | 24 | 26 | 20 | 970 | 160 | 4.1 |
| YLP-16990 | 24 | 26 | 20 | 990 | 160 | 4.3 |
| YLP-25855 | 30 | 33 | 30 | 855 | 250 | 6.2 |
| YLP-25915 | 30 | 33 | 30 | 915 | 250 | 6.6 |
| YLP-25935 | 30 | 33 | 30 | 935 | 250 | 6.7 |




