Overview
hydraulic compression strain clamp is used to fix & connect conductor onto the tension insulator string or the fittings on pole & tower through sustaining tensile force generated by the conductor.
It is made up of high-strength aluminum & steel materials, with clean surface & durable usage period; meanwhile it is easy for installation, free of hysteresis loss, low carbon & energy saving.
NY-BG Hydraulic Strain Clamp for Aluminum-Clad Steel Stranded Wire
NZG Terminal Hydraulic Strain Clamp
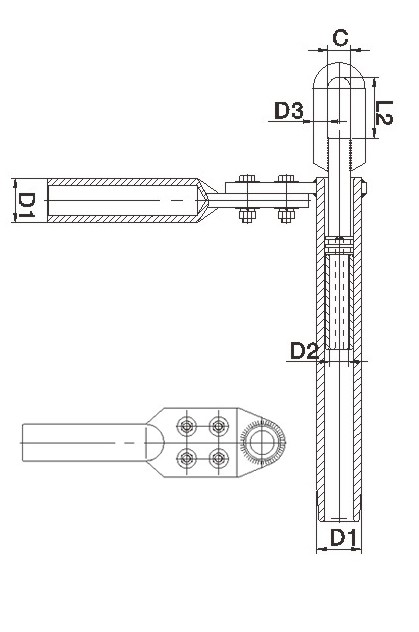
NYH Hydraulic Compression Strain Clamp for Welding Wire
NYH Hydraulic Strain Clamp Without Drainage Plate:
NYH Hydraulic Strain Clamp With Drainage Plate:
NY-N Hydraulic Strain Clamp for Heat-Resistant Aluminum Alloy Stranded Wire
1.Strain clamp (heat-resistant aluminum alloy stranded wire, complete forging type, hydraulic type) Model is NY-xxN.1
2.The clamp body and the drainage plate are made of aluminum, and the rest are hot-dip galvanized steel.
NY Hydraulic Aluminum Alloy Strain Clamp
NY-BG Hydraulic Strain Clamp for Aluminum-Clad ACSR
NB Type Hydraulic Compression Strain Clamp
NY Hydraulic Compression Strain Clamp
NY-G Hydraulic Steel Anchor Forging Strain Clamp for Steel Stranded Wire
hydraulic compression strain clamp is used to fix & connect conductor onto the tension insulator string or the fittings on pole & tower through sustaining tensile force generated by the conductor.
It is made up of high-strength aluminum & steel materials, with clean surface & durable usage period; meanwhile it is easy for installation, free of hysteresis loss, low carbon & energy saving.
NY-BG Hydraulic Strain Clamp for Aluminum-Clad Steel Stranded Wire
| Type | Applicable Conductor | Dimension(mm) | Grip(kN) | |||||
| Specifications | Outside Diameter | D1 | D2 | D3 | C | L2 | ||
| NY-35BG-20 | JLB20A-35 | 7.8 | 30 | 16 | 16 | 20 | 55 | 38 |
| NY-45BG-20 | JLB20A-45 | 8.7 | 32 | 18 | 16 | 20 | 55 | 53 |
| NY-50BG-20 | JLB20A-50 | 9 | 32 | 18 | 16 | 20 | 55 | 55.6 |
| NY-55BG-20 | JLB20A-55 | 9.6 | 32 | 20 | 16 | 20 | 55 | 64.5 |
| NY-65BG-20 | JLB20A-65 | 10.5 | 36 | 22 | 18 | 24 | 70 | 73 |
| NY-70BG-20 | JLB20A-70 | 11 | 36 | 22 | 18 | 24 | 70 | 77.5 |
| NY-80BG-20 | JLB20A-80 | 11.5 | 36 | 24 | 18 | 24 | 70 | 85 |
| NY-95BG-20 | JLB20A-95 | 12.48 | 36 | 24 | 20 | 26 | 78 | 96 |
| NY-100BG-20 | JLB20A-100 | 13 | 38 | 26 | 20 | 26 | 78 | 116 |
| NY-100BG-40 | JLB40-100 | 13 | 36 | 24 | 18 | 24 | 70 | 58.7 |
| NY-120BG-20 | JLB20A-120 | 14.25 | 42 | 30 | 22 | 26 | 78 | 138.9 |
| NY-120BG-40 | JLB40-120 | 14.25 | 36 | 24 | 18 | 24 | 70 | 71.5 |
| NY-150BG-20 | JLB20A-150 | 15.75 | 45 | 32 | 24 | 30 | 80 | 169.6 |
| NY-150BG-40 | JLB40-150 | 15.75 | 38 | 26 | 18 | 24 | 70 | 86.1 |

| Type | Applicable Conductor | Dimension (mm) | Holding Strength (kn) | Weight (kg) | |||||
| D1 | D2 | D3 | L2 | C | |||||
![]() |
NZG-600K | LGKK-600 | 76 | - | 20 | 70 | 30 | 107 | 6.5 |
| NZG-900K | LGKK-900 | 70 | - | 24 | 85 | 30 | 137 | 5.5 | |
| NZG-1400 | LGJQT-1400 | 76 | 30 | 24 | 70 | 40 | 294 | 6.8 | |
| NZG-1440N | NALH5860GJQT-1440 | 80 | 34 | 26 | 110 | 41 | 313 | 11 | |
| The clamp body and liner are made of aluminum, and the steel anchor is made of hot-dip galvanized steel. | |||||||||

| Type | Applicable Conductor | Dimension (mm) | Holding Strength (kn) | Weight (kg) | |||||
| D1 | D2 | D3 | L2 | C | |||||
![]() |
NYH-600K | LGKK-600 | 76 | - | 20 | 70 | 30 | 107 | 8 |
| NYH-900K | LGKK-900 | 74 | - | 24 | 85 | 30 | 137 | 6.5 | |
| NYH-1400/80 | LGJQT-1400/80 | 76 | 30 | 24 | 70 | 40 | 294 | 7.3 | |
| NYH-1400/100 | LGJQT-1400/100 | 76 | 30 | 24 | 70 | 40 | 107 | 7.5 | |
| NYH-1400/120 | LGJQT-1400/120 | 76 | 30 | 24 | 70 | 40 | 137 | 7.5 | |
| NYH-1400/135 | LGJQT-1400/135 | 76 | 30 | 24 | 70 | 40 | 294 | 7.5 | |
| NYH-1000/125N | NRLH5860GJ-1000/125 | 76 | 32 | 24 | 85 | 42 | 188 | 10.5 | |
| NYH-1440/120N | NRLH5860GJ-1000/120N | 80 | 34 | 26 | 110 | 41 | 313 | 12.5 | |
| NYH-1440/135N | NRLH5860GJ-1000/135N | 80 | 34 | 26 | 110 | 41 | 313 | 12.5 | |
| Type | Applicable Conductor | Dimension (mm) | Holding Strength (kn) | Weight (kg) | |||||
| D1 | D2 | D3 | L2 | C | |||||
![]() |
NYH-600/600K | LGKK-600 | 76 | - | 20 | 70 | 30 | 107 | 8 |
| NYH-900K | LGKK-900900K | 74 | - | 24 | 85 | 30 | 137 | 6.5 | |
| NYH-1400/1400/80 | LGJQT-1400/80 | 76 | 30 | 24 | 70 | 40 | 294 | 7.3 | |
| NYH-1400/1400/100 | LGJQT-1400/100 | 76 | 30 | 24 | 70 | 40 | 107 | 7.5 | |
| NYH-1400/1400/120 | LGJQT-1400/120 | 76 | 30 | 24 | 70 | 40 | 137 | 7.5 | |
| NYH-1400/1400/135 | LGJQT-1400/135 | 76 | 30 | 24 | 70 | 40 | 294 | 7.5 | |
| NYH-1000/1000/125N | NRLH5860GJ-1000/125 | 76 | 32 | 24 | 85 | 42 | 188 | 10.5 | |
| NYH-1400N/1440/120N | NRLH5860GJ-1000/120N | 80 | 34 | 26 | 110 | 41 | 313 | 12.5 | |
| NYH-1400N/1440/135N | NRLH5860GJ-1000/135N | 80 | 34 | 26 | 110 | 41 | 313 | 12.5 | |
| Type | Applicable Conductor | IMG | Main Dimensions(mm) | Grip(≥kN) | |||||
| D1 | D2 | D3 | C | L2 | |||||
|
NY-185/25N | NRLH5860GJ-185/25 | 1 | 36 | 14 | 16 | 22 | 65 | 54 |
| NY-185/30N | NRLH5860GJ-185/30 | 1 | 36 | 16 | 16 | 22 | 65 | 59 | |
| NY-240/30N | NRLH5860GJ-240/30 | 1 | 45 | 18 | 18 | 24 | 70 | 69 | |
| NY-240/40N | NRLH5860GJ-240/40 | 1 | 45 | 18 | 18 | 24 | 70 | 77 | |
| NY-300/25N | NRLH5860GJ-300/25 | 1 | 50 | 14 | 18 | 24 | 70 | 76 | |
| NY-300/40N | NRLH5860GJ-300/40 | 1 | 50 | 16 | 20 | 24 | 70 | 85.5 | |
| NY-300/50N | NRLH5860GJ-300/50 | 1 | 50 | 18 | 20 | 24 | 70 | 96 | |
| NY-400/35N | NRLH5860GJ-400/35 | 2 | 55 | 16 | 20 | 26 | 78 | 93.6 | |
| NY-400/50N | NRLH5860GJ-400/50 | 2 | 55 | 20 | 22 | 26 | 78 | 112 | |
| NY-500/35N | NRLH5860GJ-500/35 | 2 | 65 | 18 | 22 | 26 | 78 | 109 | |
| NY-500/45N | NRLH5860GJ-500/45 | 2 | 65 | 20 | 22 | 26 | 78 | 117 | |
| NY-500/65N | NRLH5860GJ-500/65 | 2 | 65 | 22 | 22 | 26 | 78 | 140 | |
| NY-630/45N | NRLH5860GJ-630/45 | 2 | 70 | 18 | 22 | 26 | 78 | 133.6 | |
| NY-630/80N | NRLH5860GJ-630/80 | 2 | 70 | 24 | 24 | 30 | 80 | 178 | |
| NY-800/55N | NRLH5860GJ-800/55 | 2 | 72 | 20 | 24 | 30 | 80 | 175 | |
2.The clamp body and the drainage plate are made of aluminum, and the rest are hot-dip galvanized steel.
NY Hydraulic Aluminum Alloy Strain Clamp
| Type | Applicable Conductor | Dimension(mm) | Grip(kN) | Remark | |||||
| D1 | D2 | D3 | C | L2 | |||||
|
NY-135/140 | JL/LHA1-135/140 | 48 | / | 16 | 22 | 65 | 62.5 | IMG 1 |
| NY-135/145 | JL/LHA1-135/145 | 48 | / | 16 | 22 | 65 | 63.4 | ||
| NY-165/170 | JL/LHA1-165/170 | 50 | / | 18 | 24 | 70 | 76.2 | ||
| NY-165/175 | JL/LHA1-165/175 | 50 | / | 18 | 24 | 70 | 77.1 | ||
| NY-210/220 | JL/LHA1-210/220 | 55 | / | 20 | 26 | 78 | 96.7 | ||
| NY-220/230 | JL/LHA1-220/230 | 58 | / | 20 | 26 | 78 | 102.3 | ||
| NY-365/165 | JL/LHA1-365/165 | 58 | 28 | 20 | 26 | 78 | 105.9 | IMG 2 | |
| NY-465/210 | JL/LHA1-465/210 | 60 | 32 | 22 | 26 | 78 | 130.2 | ||

| Type | Applicable Conductor | Dimension(mm) | Grip(kN) | ||||
| D1 | D2 | D3 | C | L2 | |||
| NY-150/25BG.1 | JL/LB20A-150/25 | 32 | 16 | 16 | 22 | 65 | 51.5 |
| NY-150/35BG.1 | JL/LB20A-150/35 | 32 | 16 | 16 | 22 | 65 | 62 |
| NY-185/25BG.1 | JL/LB20A-185/25 | 36 | 16 | 16 | 22 | 65 | 56.5 |
| NY-185/30BG.1 | JL/LB20A-185/30 | 36 | 16 | 16 | 22 | 65 | 61.5 |
| NY-240/30BG.1 | JL/LB20A-240/30 | 38 | 18 | 18 | 24 | 70 | 72 |
| NY-240/40BG.1 | JL/LB20A-240/40 | 38 | 18 | 18 | 24 | 70 | 79 |
| NY-240/55BG.1 | JL/LB20A-240/55 | 38 | 20 | 20 | 26 | 78 | 97 |
| NY-300/25BG.1 | JL/LB20A-300/25 | 42 | 16 | 18 | 24 | 70 | 79.5 |
| NY-300/40BG.1 | JL/LB20A-300/40 | 42 | 18 | 18 | 24 | 70 | 88 |
| NY-300/50BG.1 | JL/LB20A-300/50 | 42 | 18 | 18 | 24 | 70 | 98.5 |
| NY-300/70BG.1 | JL/LB20A-300/70 | 45 | 22 | 20 | 26 | 78 | 122 |
| NY-400/25BG.1 | JL/LB20A-400/25 | 48 | 18 | 18 | 24 | 70 | 91 |
| NY-400/35BG.1 | JL/LB20A-400/35 | 48 | 18 | 20 | 26 | 78 | 99 |
| NY-400/50BG.1 | JL/LB20A-400/50 | 48 | 20 | 20 | 26 | 78 | 117 |
| NY-400/65BG.1 | JL/LB20A-400/65 | 48 | 22 | 22 | 26 | 78 | 128.5 |
| 1. The clamp body and the drainage plate are made of aluminum, and the rest are hot-dip galvanized steel. | |||||||
| 2. When the steel anchor is welded, the tension clamp (hydraulic type, steel anchor welding) for aluminum clad steel core aluminum stranded wire is model NY-XXBG. | |||||||
| Type | Applicable Conductor | Dimension (mm) | Grip (kN) | ||||
| D1 | D2 | D3 | C | L2 | |||
| NB-120/20 | LGJ-120/20 | 30 | 16 | 16 | 20 | 55 | 39 |
| NB-120/25 | LGJ-120/25 | 16 | 16 | 20 | 55 | 45.5 | |
| NB-150/20 | LGJ-150/20 | 16 | 16 | 20 | 55 | 44 | |
| NB-150/25 | LGJ-150/25 | 18 | 16 | 20 | 55 | 51.5 | |
| NB-150/35 | LGJ-150/35 | 18 | 16 | 20 | 55 | 62 | |
| NB-185/25 | LGJ-185/25 | 32 | 18 | 16 | 20 | 55 | 56.5 |
| NB-185/30 | LGJ-185/30 | 18 | 16 | 20 | 55 | 61.5 | |
| NB-185/45 | LGJ-185/45 | 34 | 20 | 18 | 23 | 55 | 76.5 |
| NB-240/30 | LGJ-240/30 | 36 | 20 | 18 | 23 | 55 | 72 |
| NB-240/40 | LGJ-240/40 | 20 | 18 | 23 | 55 | 79 | |
| NB-240/55 | LGJ-240/55 | 22 | 20 | 24 | 65 | 97 | |
| NB-300/15 | LGJ-300/15 | 40 | 22 | 16 | 23 | 55 | 65 |
| NB-300/20 | LGJ-300/20 | 22 | 18 | 23 | 55 | 72 | |
| NB-300/25 | LGJ-300/25 | 22 | 18 | 23 | 55 | 79.5 | |
| NB-300/40 | LGJ-300/40 | 22 | 20 | 23 | 55 | 88 | |
| NB-300/50 | LGJ-300/50 | 24 | 20 | 27 | 65 | 98.5 | |
| NB-300/70 | LGJ-300/70 | 42 | 24 | 22 | 27 | 70 | 122 |
| NB-400/20 | LGJ-400/20 | 45 | 26 | 18 | 27 | 65 | 84.5 |
| NB-400/25 | LGJ-400/25 | 26 | 18 | 27 | 65 | 91 | |
| NB-400/35 | LGJ-400/35 | 26 | 20 | 27 | 70 | 99 | |
| NB-400/50 | LGJ-400/50 | 26 | 22 | 27 | 70 | 117 | |
| NB-400/65 | LGJ-400/65 | 48 | 26 | 22 | 29 | 75 | 128 |
| NB-400/95 | LGJ-400/95 | 28 | 24 | 31 | 83 | 163 | |
| Type | Applicable Conductor | Main Dimensions | Grip | ||||
| (mm) | (≥kN) | ||||||
| D1 | D2 | D3 | C | L2 | |||
| NY-95/15.1 | LGJ-95/15 | 26 | 14 | 16 | 20 | 55 | 33.5 |
| NY-95/20.1 | LGJ-95/20 | 26 | 14 | 16 | 20 | 55 | 35.5 |
| NY-120/20.1 | LGJ-120/20 | 30 | 14 | 16 | 20 | 55 | 39 |
| NY-120/25.1 | LGJ-120/25 | 30 | 14 | 16 | 20 | 55 | 45.5 |
| NY-150/20.1 | LGJ-150/20 | 30 | 14 | 16 | 22 | 65 | 44 |
| NY-150/25.1 | LGJ-150/25 | 14 | 16 | 22 | 65 | 51.5 | |
| NY-150/35.1 | LGJ-150/35 | 16 | 16 | 22 | 65 | 62 | |
| NY-185/25.1 | LGJ-185/25 | 32 | 14 | 16 | 22 | 65 | 56.5 |
| NY-185/30.1 | LGJ-185/30 | 14 | 16 | 22 | 65 | 61.5 | |
| NY-185/45.1 | LGJ-185/45 | 34 | 18 | 18 | 24 | 70 | 76.5 |
| NY-240/30.1 | LGJ-240/30 | 36 | 16 | 18 | 24 | 70 | 72 |
| NY-240/40.1 | LGJ-240/40 | 16 | 18 | 24 | 70 | 79 | |
| NY-240/55.1 | LGJ-240/55 | 36 | 20 | 20 | 26 | 78 | 97 |
| NY-300/15.1 | LGJ-300/15 | 40 | 14 | 16 | 22 | 65 | 65 |
| NY-300/20.1 | LGJ-300/20 | 14 | 18 | 24 | 70 | 72 | |
| NY-300/25.1 | LGJ-300/25 | 14 | 18 | 24 | 70 | 79.5 | |
| NY-300/40.1 | LGJ-300/40 | 40 | 16 | 18 | 24 | 70 | 88 |
| NY-300/50.1 | LGJ-300/50 | 18 | 18 | 24 | 70 | 98.5 | |
| NY-300/70.1 | LGJ-300/70 | 42 | 22 | 20 | 26 | 78 | 122 |
| NY-400/20.1 | LGJ-400/20 | 45 | 14 | 18 | 24 | 70 | 84.5 |
| NY-400/25.1 | LGJ-400/25 | 14 | 18 | 24 | 70 | 91 | |
| NY-400/35.1 | LGJ-400/35 | 16 | 20 | 26 | 78 | 99 | |
| NY-400/50.1 | LGJ-400/50 | 20 | 20 | 26 | 78 | 117 | |
| NY-400/65.1 | LGJ-400/65 | 48 | 22 | 22 | 26 | 78 | 128.5 |
| NY-400/95.1 | LGJ-400/95 | 26 | 24 | 30 | 80 | 163 | |
| Type | Applicable Conductor | Main Dimensions(mm) | Grip(≥kN) | ||||
| D1 | D2 | D3 | C | L2 | |||
| NY-500/35.1 | LGJ-500/35 | 52 | 16 | 22 | 26 | 78 | 114 |
| NY-500/45.1 | LGJ-500/45 | 18 | 22 | 26 | 78 | 122 | |
| NY-500/65.1 | LGJ-500/65 | 22 | 22 | 26 | 78 | 146.5 | |
| NY-630/45.1 | LGJ-630/45 | 60 | 18 | 22 | 26 | 78 | 141.5 |
| NY-630/55.1 | LGJ-630/55 | 20 | 24 | 30 | 80 | 156.5 | |
| NY-630/80.1 | LGJ-630/80 | 24 | 24 | 30 | 80 | 183.5 | |
| NY-720/50.1 | LGJ-720/50 | 60 | 20 | 24 | 30 | 80 | 163 |
| NY-720/65.1 | LGJ-720/65 | 22 | 24 | 30 | 80 | 176 | |
| NY-800/55.1 | LGJ-800/55 | 65 | 20 | 24 | 30 | 80 | 183 |
| NY-800/70.1 | LGJ-800/70 | 22 | 26 | 34 | 90 | 197 | |
| NY-800/100.1 | LGJ-800/100 | 26 | 26 | 34 | 90 | 229 | |

| Type | Twisted Pair | Main Dimensions(mm) | Grip(≥kN) | Weight(kg) | ||||||
| Standard | Mark | D | L | L1 | D3 | C | L2 | |||
| NY-35G.1 | GB1200-88 1270N/mm2 | 7-7.8 | 16 | 195 | 115 | 16 | 20 | 50 | 45 | 0.52 |
| NY-55G.1 | 7-9.6 | 20 | 220 | 140 | 16 | 20 | 50 | 70 | 0.7 | |
| NY-80G.1 | 19-11.5 | 24 | 260 | 170 | 18 | 22 | 55 | 100 | 1.3 | |
| NY-50G.1 | GB1200-75 1225N/mm2 | 7-9.0 | 18 | 210 | 130 | 16 | 20 | 50 | 60 | 0.63 |
| NY-70G.1 | 19-11.0 | 22 | 245 | 155 | 18 | 22 | 55 | 80 | 1.02 | |
| NY-100G.1 | 19-13.0 | 26 | 290 | 185 | 20 | 24 | 65 | 120 | 1.63 | |
| NY-120G.1 | 19-14.0 | 28 | 310 | 195 | 22 | 26 | 70 | 140 | 1.9 | |
| NY-135G.1 | 19-15.0 | 30 | 330 | 215 | 22 | 26 | 70 | 155 | 2.3 | |
| NY-100GC.1 | GB1200-88 1370N/mm2 | 19-13.0 | 28 | 335 | 220 | 22 | 26 | 70 | 130 | 1.64 |
| NY-125GC.1 | 19-14.5 | 32 | 360 | 250 | 24 | 30 | 80 | 165 | 1.7 | |







