Overview
Dead-end Caps(type MGZ)
Tubular bus-bar dead end caps, belonging to a type of electric power fitting, is mainly installed in the bus terminal on both sides, play a "reduction of corona at both ends of the bus" role. The stable catalog no. of tubular bus-bar dead end caps includes MGZ-50, MGZ-60, MGZ-70, MGZ-80, MGZ-85, MGZ-90, and so on. The color of MGZ dead-end cap is silver white. Tubular bus-bar dead end caps belong to substation fitting. Tubular bus-bar dead end caps are used to fix or hang bus-bars on insulators at the substation.
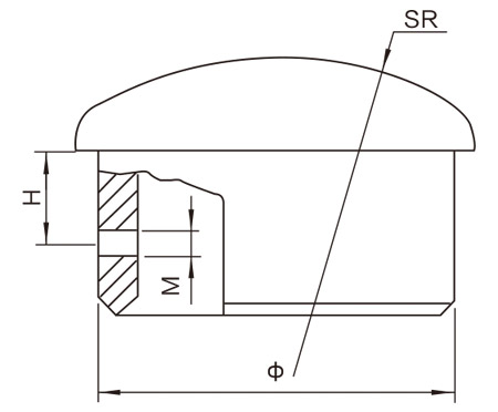
Dead-end Caps(type MGF)
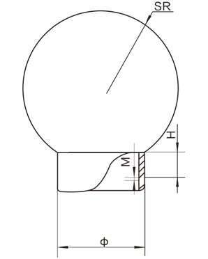
Dead-end Caps(type MGZ)
Tubular bus-bar dead end caps, belonging to a type of electric power fitting, is mainly installed in the bus terminal on both sides, play a "reduction of corona at both ends of the bus" role. The stable catalog no. of tubular bus-bar dead end caps includes MGZ-50, MGZ-60, MGZ-70, MGZ-80, MGZ-85, MGZ-90, and so on. The color of MGZ dead-end cap is silver white. Tubular bus-bar dead end caps belong to substation fitting. Tubular bus-bar dead end caps are used to fix or hang bus-bars on insulators at the substation.

| Catalog No. | Bus-Bar Dia. | Main Dimensions (mm) | WeigHt | |||
| (mm) | Φ | SR | H | M | (kg) | |
| MGZ-50 | 50/45 | 45 | 45 | 10 | 8 | 3 |
| MGZ-60 | 60/54 | 54 | 70 | 10 | 8 | 3.7 |
| MGZ-70 | 70/64 | 64 | 70 | 15 | 8 | 3.8 |
| MGZ-80 | 80/72 | 72 | 70 | 15 | 8 | 4 |
| MGZ-90 | 90/80 | 80 | 80 | 20 | 8 | 4.3 |
| MGZ-100 | 100/90 | 90 | 80 | 25 | 8 | 4.5 |
| MGZ-110 | 110/100 | 100 | 90 | 25 | 10 | 4.6 |
| MGZ-120 | 120/110 | 110 | 90 | 25 | 10 | 4.8 |
| MGZ-130 | 130/116 | 116 | 90 | 25 | 10 | 4.9 |
| MGZ-150 | 150/136 | 136 | 150 | 30 | 10 | 7.4 |
| MGZ-170 | 170/156 | 156 | 170 | 30 | 10 | 12.5 |
| MGZ-200 | 200/180 | 180 | 200 | 30 | 12 | 23.5 |
| MGZ-250 | 250/230 | 230 | 250 | 40 | 12 | 42.5 |

| Catalog No. | Bus-Bar Dia. | Main Dimensions (mm) | WeigHt | |||
| (mm) | Φ | SR | H | M | (kg) | |
| MGF-50 | 50/45 | 45 | 50 | 10 | 8 | 0.14 |
| MGF-60 | 60/54 | 54 | 65 | 15 | 8 | 0.17 |
| MGF-70 | 70/64 | 64 | 70 | 15 | 8 | 0.2 |
| MGF-80 | 80/72 | 72 | 70 | 15 | 8 | 0.3 |
| MGF-90 | 90/80 | 80 | 80 | 15 | 8 | 0.35 |
| MGF-100 | 100/90 | 90 | 80 | 15 | 8 | 0.43 |
| MGF-110 | 110/100 | 100 | 80 | 15 | 10 | 0.5 |
| MGF-120 | 120/110 | 110 | 120 | 15 | 10 | 0.55 |
| MGF-130 | 130/116 | 116 | 120 | 15 | 10 | 0.68 |
| MGF-150 | 150/136 | 136 | 150 | 15 | 10 | 1 |
| MGF-170 | 170/156 | 156 | 160 | 15 | 10 | 1.3 |
| MGF-200 | 200/180 | 180 | 200 | 25 | 10 | 1.5 |
| MGF-250 | 250/230 | 230 | 250 | 25 | 10 | 2.9 |




