YOUR CURRENT POSITION: Home > News
Vibration Damper Installation Guidelines
Release time: 2025-06-09
Pre-Installation Inspection
Thoroughly inspect the vibration damper before installation.
Do not use if any defects or non-conformities are found.
Surface Condition
Ensure the vibration damper is free from rust, dirt, or other contaminants.
Installation Alignment
The damper should hang naturally on the conductor.
The counterweight must be parallel to the wire, and the clamp keeper must be perpendicular to the ground.

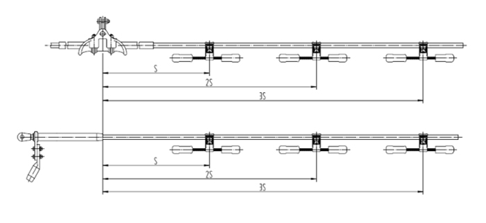
Installation Specifications
The installation distance must comply with design specifications.
Bolt torque must meet the required value (45 N·m as specified in the drawing).
Counterweight & Bolt Orientation (if applicable)
If the damper has large and small counterweights, ensure proper alignment:
Large counterweight faces toward the tower.
Bolts must be installed from bottom to top.
Related products
Angle Tie Straps
Angle Tie Straps
STD/STC/STB/STA Anchor Dead End Clamp
STD/STC/STB/STA Anchor Dead End Clamp
35kV Heat Shrink Termination
35kV Heat Shrink Termination
Polymer Suspension Insulator
Polymer Suspension Insulator